Apple навчить Apple Pencil визначати кольори реальних об’єктів
Цього тижня Apple подала новий патент в Бюро патентів і товарних знаків США. У документі описується комп’ютерний стилус, який «може мати датчик кольору».
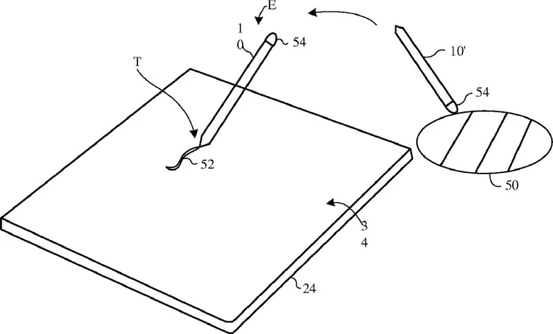
Згідно з патентною документацією, фірмовий стилус компанії навчиться визначати кольори предметів, що знаходяться в реальному світі. Датчик ідентифікації кольору може бути розташований на кінчику стилуса або з’єднаний з кінчиком через світловод. Стилус також може отримати підсвічування, щоб фотодетектори більш точно визначали колір.

Ця технологія дозволить людям просто навести Apple Pencil на будь-який об’єкт, колір якого їм подобається, і використовувати його в цифровій творчості. Аналогічним чином працює інструмент «піпетка» в графічних редакторах.
Apple також стверджує, що датчик кольору можна використовувати для інших цілей, таких як калібрування дисплеїв і принтерів, а також для проведення вимірювань, «пов’язаних зі здоров’ям». Слід зазначити, що такі оптичні датчики вже існують.